미래기술 연구개발 일환… 독자기술로 미국서 특허 등록
패션·디자인 등 활용도 높아 프린터 사업 진출 가능성도

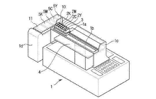
삼성전자가 미국 특허청(USPTO)에 신청해 최근 정식으로 등록된 '3D 프린팅을 위한 멀티컬러 잉크' 특허 도면.  USPTO 제공
삼성전자가 미국 특허청(USPTO)에 신청해 최근 정식으로 등록된 '3D 프린팅을 위한 멀티컬러 잉크' 특허 도면. USPTO 제공

삼성전자가 다양한 색채와 소재로 3D 프린팅이 가능한 3D 프린터 특허를 취득한 것으로 확인됐다. 삼성전자는 그동안 3D 프린터 사업 진출 의향이 없다고 못 박아 왔기 때문에 이번 특허 또한 실제 사업과 연관성이 없을 가능성도 있다. 하지만 업계 일각에서는 이번 특허가 3D 프린터 생산뿐만 아니라 소재, 패션·디자인 등 다양한 분야에 활용 가능한 만큼 향후 삼성전자의 시장 진입을 점치는 시각도 있다.

23일 미국 특허청(USPTO)에 따르면 삼성전자는 지난해 현지 특허청에 신청한 '3D 프린팅을 위한 멀티컬러 잉크' 특허를 승인받아 올 들어 정식으로 등록한 것으로 나타났다.

이번에 취득한 특허는 삼성전자 DMC연구소 소속 임직원들이 주도해 개발했지만, 핵심 멤버 중에는 삼성전자 무선사업부 상품전략팀도 직접 관여한 것으로 알려졌다. 연구개발 경과에 따라 실제 제품화할 가능성도 열려있다는 얘기다.

이번 특허는 국건 삼성전자 DMC연구소 프론티어 리서치랩 마스터(상무)를 비롯해 정연경 소재응용랩 수석, 한은봉 프론티어리서치랩 수석, 임용현 삼성전자 무선사업부 상품 전략팀 과장 등이 개발에 참여한 것으로 알려졌다. 특히 국건 마스터는 산업통상자원부가 2013년부터 운영하고 있는 '3D프린팅산업 발전전략 포럼'의 위원직을 맡고 있기도 하다.

3D 프린터가 미래 성장산업으로 각광 받기 시작한 이후 국내 관련 업계의 시선은 삼성전자로 쏠리기 시작했다. 세계적인 수준의 제조 경쟁력을 갖춘 삼성전자가 3D 프린팅 산업에 진출할 경우 국가 간 경쟁으로 커지고 있는 3D 프린팅 시장에서 한국이 앞서나갈 수도 있을 것이라는 기대감 때문이다. 반면 삼성전자는 줄곧 "3D 프린팅 사업에 진출할 계획이 없다"고 천명해왔다.

하지만 삼성전자는 내부적으로는 미래기술 개발을 위해 3D 프린팅을 비롯한 다양한 가능성을 검토하고 있는 것으로 보인다. 특히 삼모바일 등 외신에 따르면 올해 삼성전자는 별도 팀을 구성해 3D 프린팅을 비롯한 로봇, VR(가상현실)기기, 무인자동차 등 미래 기술을 연구하고 있는 것으로 알려졌다. 이 팀에는 전략가, 제품 매니저, 기술자 등 다양한 직군의 전문가들이 포진하고 있다.

한 업계 관계자는 "현재 시장에 나와 있는 3D 프린터가 단색 위주의 프린팅이지만 멀티컬러 잉크를 활용할 경우 다양한 색채 표현이 가능하다"며 "아직 업계에서도 패션, 디자인 영역에서 소수의 전문 업체들만이 보유하고 있는 기술이며 이번에 삼성전자가 취득한 특허는 독자적인 기술을 바탕으로 구현한 방식으로 보인다"고 설명했다.

황민규기자 hmg815@dt.co.kr

[저작권자 ⓒ디지털타임스 무단 전재-재배포 금지]

기사 추천

  • 추천해요 0
  • 좋아요 0
  • 감동이에요 0
  • 화나요 0
  • 슬퍼요 0